모두CBT | 국가고시 실기시험 부시기!

가스기능장 작업형 65회~78회 중복제외 해설 페이지

가스기능장 작업형 65회~78회 중복제외

    1

    가스기능장 작업형 65회~78회 중복제외

    도시가스 정압기실 바닥면 둘레가 55 m 일때 가스누출 검지 경보장치 검출부는 최소 몇개를 설치해야 하는지 쓰시오.

    답: 3

    해설

    55/20 = 2.75

    참고

    정압기실 둘레 20 m에 1개

    고압시설은 10 m

    2

    가스기능장 작업형 65회~78회 중복제외

    라인마크 (line mark)

    (가) 설치 목적

    (나) 영상에서 보이는 설비는, 도시가스 배관을 매설하는 경우 도시가스 배관길이 얼마(m) 마다 1개 이상 설치해야 하는가?

    (다) 영상에서 보이는 설비는, 비개착공법에 의하여 배관을 지하에 매설하는 경우, 배관길이 얼마(m) 마다 1개 이상의 라인마크를 설치해야 하는가?

    (라) 다음 ( ) 에 알맞은 것을 쓰시오.

    라인마크 대체 배관직상부 ( ) 검지공.로케팅와이어으로측정함.

    가.도로 및 공동주택등의 부지 안 도로에 도시가스 배관을 매설하는 경우에

    위치를 표시


    나. 50

    다. 10

    라. 전위측정용터미널(T/B)

    3

    가스기능장 작업형 65회~78회 중복제외

    3. 고압가스용 실린더캐비닛 관련 ( ) 에 알맞은 것을 쓰시오.

    (1) 실린더캐비닛 내의 공기를 항상 옥외로 배출하고, 내부의 압력이 외부의 압력보다 항상 ( ㄱ ) 유지하고 이를 확인할 수 있는 조치를 강구한다


    (2) 실린더캐비닛에 사용한 재료는 ( ㄴ ) 인 것으로 한다.


    (3) 실린더캐비닛 내의 설비 중 고압가스가 통하는 부분은 상용압력의 (ㄷ ) 이상의 압력으로 행하는 내압시험 및 상용압력 이상의 압력으로 행하는 기밀시험에 합격한 것으로 한다.


    (4) 가연성 가스용기를 넣는 실린더캐비닛에는 해당 실린더캐비닛에서 발생하는 ( ㄹ ) 를 제거하는 조치를 한다.

    ㄱ. 낮도록

    ㄴ. 불연성

    ㄷ. 1.5 배

    ㄹ. 정전기

    4

    가스기능장 작업형 65회~78회 중복제외

    (가) 동영상 방식 방법의 이름을 쓰시오.

    (나) (가) 의 방식법의 전위측정용 터미널 설치기준은 몇 미터 이내 인지 쓰시오.

    문제이미지

    가. 희생양극법


    나. 300m 이내


    참고

    전위측정용 터미널박스(T/B)의 설치간격

    희생양극법, 배류법: 300 m 이내

    외부전원법: 500 m 이내

    5

    가스기능장 작업형 65회~78회 중복제외

    영상의 충전기를 자동차 진입으로부터 보호할 수 있도록 설치하는 보호대 관련하여

    (가) 보호대의 높이는 얼마(cm) 이상이어야 하는가?


    (나) 보호대를 배관용 탄소 강관으로 할 경우, 호칭지름은 얼마 이상으로 해야 하는가?

    가. 80cm

    나. 100A

    6

    가스기능장 작업형 65회~78회 중복제외

    노란색 PE 배관 맞대기 융착이음

    (가) 화면에서 표시되는 융착이음의 종류를 영문으로 쓰시오.

    (나) 해당 융착은 공칭외경 얼마 (mm) 이상의 직관과 이음관 연결에 적용해야 하는가?


    (다) 시공이 불량한 융착 이음부는 어떻게 조치해야 하는가?


    (라) 이음부의 연결오차는 배관 두께의 얼마(%) 이하로 해야 하는지 쓰시오.

    (마) PE배관을 매몰설치할 때, PE배관의 굴곡허용반경은 외경의 몇배 이상으로 해야 하는지 쓰시오.


    (바) 해당 동영상과 같은 융착을 설치 후 온길이 방사선투과시험을 하는 경우 이음효율은 얼마(%)로 해야하는지 쓰시오.

    가. Butt fusion

    나. 90

    다. 절단하여 제거하고 재시공한다

    라. 10%

    마. 20배

    바. 100%

    7

    가스기능장 작업형 65회~78회 중복제외

    (가) 1만 kg 이하 처리능력 및 저장능력을 가지는 가연성 가스의 처리설비 및 저장설비와 학교와의 안전거리(m)를 쓰시오.


    (나) 1만 kg 이하 처리능력 및 저장능력을 가지는 산소의 처리설비 및 저장설비와 주택과의 안전거리(m)를 쓰시오.


    (다) 가연성가스 또는 산소의 가스설비 또는 저장설비의 외면으로부터 화기를 취급하는 장소까지 우회 거리(m)를 쓰시오.


    (라) 불연성 건축물 안에서 화기를 사용하는 경우에는 가스설비 등으로부터 수평거리 몇 m 이내에 있는 건축물 개구부는 방화문 또는 망입유리로 폐쇄하고, 사람이 출입하는 출입문은 2중문해야 하는지 쓰시오.

    가. 17m 이유: 제1종 보호시설

    나. 12m 이유: 제2종 보호시설

    다. 8m

    라. 8m

    8

    가스기능장 작업형 65회~78회 중복제외

    8. 이상압력통보설비

    (가) 이상압력통보설비를 설치하는 목적을 쓰시오.

    (나) 이상압력통보설비에서 울리는 경보음은 몇 dB 이상이어야 하는가?

    가. 정압기출구 측의 압력이 설정압력보다 상승하거나 낮아지는 경우에 이상 유무를 상황실에서 알 수 있도록 알려줌


    나. 70

    9

    가스기능장 작업형 65회~78회 중복제외

    표지판 (고압가스관)

    (가) 표지판은 배관을 따라 얼마 (m) 간격으로 1개 이상으로 설치해야 하는가?


    (나) 표지판 크기의 최소 치수는 얼마(mm)인가?

    가. 500 m


    나. 가로 200 mm

    세로 150 mm


    참조:

    가스도매사업자 배관 500 m

    일반도시가스사업자 배관 200 m

    고압가스관이므로, 가스도매사업자 적용

    10

    가스기능장 작업형 65회~78회 중복제외

    10. 자동절체식 조정기의 절체 성능 관련하여 다음 ( ) 에 알맞은 것을 쓰시오.

    출구를 잠근 후 사용측과 예비측에 ( ㄱ ) 이상의 압력을 가한 상태에서 사용 방향 설정 레버를 사용측으로 하고 출구를 연 상태에서 감압밸브로 사용측 공급압력을 ( ㄴ ) 미만으로 하였을 때 절체 표시창에 적색 등 절체된 상태 표시가 나타나는지 확인한다.

    ㄱ. 0.3MPa

    ㄴ. 0.1MPa

    11

    가스기능장 작업형 65회~78회 중복제외

    압축 도시가스 자동차 충전소 관련

    (가) 처리설비·압축가스설비로부터 30 m 이내에 보호시설이 있는 경우, 처리설비 및 압축가스설비의 주위에 설치해야 하는 것은?


    (나) 충전차량과의 거리 ?


    (다) 저장설비, 처리설비, 압축가스설비 및 충전설비는 그 외면으로부터 사업소 경계까지 얼마 (m) 이상의 안전거리를 유지해야 하는가?


    (라) 충전설비는 도로경계까지 몇 m 이상의 거리를 유지해야 하는가?

    가. 방호벽

    나.

    다. 10m

    라. 5m

    12

    가스기능장 작업형 65회~78회 중복제외


    (가) 고압의 가스공급시설이 설치되는 안전구역의 면적은 몇 m2 미만이어야 하는가?

    (나) 안전구역 안의 고압인 가스공급시설은 그 외면으로부터

    다른 안전구역 안에 있는 고압인 가스공급시설의 외면까지 몇 m 이상의 거리를 유지해야 하는가?

    (다) 두개 이상의 제조소가 인접하여 있는 경우의 가스공급시설은 그 외면으로부터 다른 제조소의 경계까지 몇 m 이상의 거리를 유지해야 하는가?

    (라) 액화천연가스의 저장탱크는 그 외면으로부터 처리능력이 20만㎥ 이상인 압축기까지 몇 m 이상의 거리를 유지해야 하는가?


    가. 2만m2

    나. 30m

    다. 20m

    라. 30m

    13

    가스기능장 작업형 65회~78회 중복제외

    액화가스저장탱크의 저장능력이 ( ㄱ ) 톤 이상인 것의 주위에는 액상의 가스가 누출될 경우에 그 유출을 방지할 수 있는 철근 콘크리트 구조물로 된 ( ㄴ ) 을 설치한다.

    ㄱ. 500톤

    ㄴ. 방류둑

    14

    가스기능장 작업형 65회~78회 중복제외

    (가) 영상에서 보이는 용기의 색상에 따른 가스 종류에 따른 표시 방법에 대하여 정확하게 설명하시오.


    (나) 영상에서 보이는 가스 종류를 표기하는 글씨 크기는 얼마(mm) 인지 쓰시오.

    문제이미지

    가. ​ '액화염소' 라고 백색으로 표시

    나. 70

    15

    가스기능장 작업형 65회~78회 중복제외

    LPG 자동차에 고정된 탱크충전의 시설 관련하여

    (가) 저장탱크의 외면으로부터 냉각살수장치 조작 위치는 얼마(m) 이상 떨어져야 하는지 쓰시오.

    (나) 이 냉각살수장치의 작동상태 점검 주기를 쓰시오.

    가. 5m

    나. 매월 1회 이상

    16

    가스기능장 작업형 65회~78회 중복제외

    5. [동영상] 다리 밑에 설치된 가스배관

    (가) 교량에 배관 설치을 설치할 때 이 배관의 지름이 500A 일때 배관의 고정 및 지지를 위한 지지대의 최대지지간격은 얼마(m) 인가?

    (나) 교량에 배관 설치을 설치할 때 지지대, U볼트 등의 고정장치와 배관 사이에는 무슨 조치를 해야 하는지 쓰시오.

    가. 22m

    나. 고무판, 플라스틱 등 절연물질을 삽입

    17

    가스기능장 작업형 65회~78회 중복제외

    6. [동영상] 도시가스 수직배관

    (가) 도시가스 사용시설 입상관의 정의를 쓰시오.

    (나) 입상관에 설치된 밸브의 설치높이는 바닥으로부터 얼마인가?

    (다) 입상관에 설치된 밸브를 기준 높이 미만으로 설치 시 설치해야 하는 것을 쓰시오.

    (라) 입상관 밸브를 지면 또는 바닥면에서 기준 높이보다 높은 위치에 설치할 경우 조건을 쓰시오.

    가. 수용가에 가스를 공급하기 위해 건축물에 수직으로 부착되어 있는 배관이며, 가스의 흐름 방향과 관계없이 수직배관은 입상관


    나. 1.6 m 이상 2 m 이내


    다. 보호상자


    라. 입상관 밸브 차단을 위한 전용 계단을 견고하게 고정ᆞ설치

    원격으로 차단이 가능한 전동밸브를 설치

    18

    가스기능장 작업형 65회~78회 중복제외

    7. 다음 영상에서 보이는 방폭구조의 (가) 이름과 (나) 영문기호를 쓰시오.

    [동영상]

    모서리가 동그란 상자 안에 보라색 기름이 절반 가량 채워져 있고, 기름이라고 자막 표시.

    기름 안에 불꽃이 튀면서 점화원이라고 자막 표시.

    영상의 마지막에 유입방폭구조의 설명이 글씨로 제시됨.

    '전기설비에서 발생할 수 있는 아아크 또는 고온이 기름 속에 잠기게 함으로써 기름면 위에 존재하는 가연성 가스에 인화되지 아니하도록 한 구조로, 탄광에서 처음 사용됨.

    (가) 이름

    (나) 영문 기호

    가. 유입방폭구조

    나. Ex o

    19

    가스기능장 작업형 65회~78회 중복제외

    (가) 도로폭이 10 m 인 곳에, 도시가스 배관을 매설할 때 매설깊이는 얼마 이상인가?


    (나) 도로폭이 6 m 인 곳에, 도시가스 배관을 매설할 때 매설깊이는 얼마 이상인가?


    다음 ( ) 에 알맞은 것을 쓰시오.

    (다) 배관의 기울기는 ( ) 를 따르고 도로가 평탄한 경우에는 1/500 - 1/1000 정도의 기울기로 한다.

    (라) 배관을 지하에 매설하는 경우에는 배관의 외면과 상수도관·하수관거 통신케이블 등 타시설물과는 ( ) m 이상의 간격을 유지한다.

    (마) 다만, 타시설물과 이격거리를 유지하지 못하는 배관은 ( ) 으로 다음과 같이 보호한 경우에는 간격을 유지한 것으로 볼 수 있다.

    가. 1.2m

    나. 1.0m

    다. 도로의 기울기

    라. 0.3m

    마. 보호관 또는 보호판


    참고

    배관의 매설 깊이 기준

    ① 공동주택 : 0.6 m 이상

    ② 폭 8 m 이상 도로 : 1.2 m (중압) / 1.0 m (저압) 이상

    ③ 폭 4 m 이상 도로 : 1.0 m (중압) / 0.8 m (저압) 이상

    ④ 폭 4 m 미만 도로 : 0.6 m 이상

    20

    가스기능장 작업형 65회~78회 중복제외

    9. 가스보일러는 방, 거실 그 밖에 사람이 거처하는 곳과 목욕탕, 샤워장 그밖에 환기가 잘 되지 않아 보일러의 배기가스를 누출되는 경우 사람이 질식할 우려가 있는 곳에 설치하지 않아야 한다. 다만, 밀폐식 가스보일러로서 설치할 수 있는 조건 3가지 중 2가지를 쓰시오.

    ㉮ 가스보일러와 연통의 접합은 나사식, 플랜지식 또는 리브식으로 하고, 연통과 연통의 접합은 나사식, 플랜지식, 클램프식, 연통일체형 밴드 조임식 또는 리브식 등으로 하여 연통이 이탈되지 아니하도록 설치하는 경우

    ㉯ 막을 수 없는 구조의 환기구가 외기와 직접 통하도록 설치되어 있고, 그 환기구의 크기가 바닥면적 1 ㎡마다 300 ㎠의 비율로 계산한 면적 이상인 곳에 설치하는 경우

    ㉰ 실내에서 사용 가능한 전이중급배기통을 설치하는 경우

    21

    가스기능장 작업형 65회~78회 중복제외

    10. 가스 충전용기 관련하여 [동영상]

    A 노란색 용접용기

    B 파란색 Seamless 용기

    C 주황색 Seamless 용기

    D 녹색 Seamless 용기

    (가) (초록색 통 번호를 지칭하면서) 해당 용기 재료의 탄소, 인, 황 함유량이 얼마(%) 이하이어야 하는지 쓰시오.

    (나) (노란색 통 번호를 지칭하면서) 영상의 충전용기에 대하여, ( ) 안에 알맞은 내용을 넣으시오.


    다공질물의 다공도는 다공질물을 용기에 충전 한 상태로 20°C에서 아세톤, 디메틸포름아미드 또는 ( )의 흡수량으로 측정한다.

    가.

    탄소 0.55 %

    인 0.04 % (인사)

    황 0.05 % (황오)


    나. 물

    22

    가스기능장 작업형 65회~78회 중복제외

    11. 동영상에서 보이는 물체의 (가) 명칭 과 (나) 도시가스 배관이 직선으로 매설될 때 설치간격과 (나) 도시가스 배관이 직선으로 매설될 때 (1)의 설치간격을 쓰시오.


    (가) 명칭


    (나) 도시가스 배관이 직선으로 매설될 때 (1)의 설치간격을 쓰시오.

    (다) 금속재 이외에 사용되는 종류


    (라) 영상에서 보이는 설비는, 비개착공법에 의하여 배관을 지하에 매설하는 경우, 배관길이 얼마(m) 마다 1개 이상의 라인마크를 설치해야 하는가?

    문제이미지

    가. 라인마크

    나. 50m

    다. 스티커형, 네일형

    라. 10m

    23

    가스기능장 작업형 65회~78회 중복제외

    작업자가 서서 기다란 탐지봉 2개로 도시가스 라인마크가 설치된 지면 부근을 두드리면서 분무기로 액체를 뿌린다. 작업자 배에 걸린 계측기( Survery Meter)로 100 mV 측정 후, 계측기 바늘이 절반가량 올라감.

    가. 영상에서 무엇을 조사하는지 쓰시오

    나. 사용 장비명칭을 쓰시오.

    문제이미지

    가. 매설배관의 외면 부식

    나. 직류전압구배법(DCVG) 미터

    24

    가스기능장 작업형 65회~78회 중복제외

    (1) 도로폭이 10 m 인 곳에, 도시가스 배관을 매설할 때 매설깊이는 얼마 이상인가?

    (2) 도로가 평탄할 경우 배관의 기울기는 어느 정도로 하는가?

    1. 1.2m

    2. 1/500 ~ 1/1000

    25

    가스기능장 작업형 65회~78회 중복제외

    도시가스 사용시설의 가스계량기와 다음과 유지해야할 최소 거리는 얼마 이상인지 쓰시오.

    (가) 화기:


    (나) 전기점멸기 :

    가. 2m

    나. 30cm

    문제이미지

    26

    가스기능장 작업형 65회~78회 중복제외

    다음 배관 부속 명칭을 영어 약자로 쓰시오.

    [동영상]

    회색관과 PE관이 겹쳐서 연결

    TF (혹은 T/F)


    참고

    이형질 이음관 (Transition Fitting, T/F)

    27

    가스기능장 작업형 65회~78회 중복제외

    플레어스택에 역화 및 공기 등과의 혼합폭발을 방지를 위한 조치(설비) 5가지 중 4가지를 쓰시오.

    1. liquid seal

    2. flame arrestor

    3. vapor seal

    4. purge gas(N2 , off gas 등)의 지속적인 주입

    5. molecular seal

    28

    가스기능장 작업형 65회~78회 중복제외

    영상의 설비에 대해서

    [동영상] 위로 곧추선 3줄 PE밸브

    도시가스용 매몰형 폴리에틸렌 플러그밸브 및 매몰형 폴리에틸렌 볼밸브

    (가) 영상에서 보이는 PE밸브의 사용온도와 사용압력을 쓰시오.

    (나) SDR 21 이하일 경우, 최고사용압력 (㎫)는 얼마 이하로 해야 하는가?

    가. 온도: -29 ℃ 이상 38 ℃ 이하

    사용압력: 0.4 ㎫ 이하


    나. 0.2 ㎫ 이하


    참조

    SDR (standard dimension ration) = D(외경) / t(최소두께)

    11 이하 0.4 ㎫ 이하

    17 이하 0.25 ㎫ 이하

    21 이하 0.2 ㎫ 이하

    29

    가스기능장 작업형 65회~78회 중복제외

    메탄(비점 -161℃)의 증기밀도와 비중은 각각 얼마인지 쓰시오.

    (1) 증기밀도


    (2) 증기비중

    1. 분자량 / 22.4 = 16/22.4 = 0.71 g/L = 0.71 kg/㎥


    2. 분자량 / 공기 분자량 = 16/29 = 0.55

    30

    가스기능장 작업형 65회~78회 중복제외

    영상에서 지칭하는 (가) 용기명과 (나) 그 구조 원리를 쓰시오.

    [동영상]

    빨대 2개가 꽂혀 있는 은색 용기

    밸브가 2개 (액체, 기체)


    (가) 용기 명칭


    (나) 구조와 원리

    가. 사이펀용기

    나. 기체와 액체를 공급할 수 있는 용기로, 액체밸브와 연결된 사이펀 (Siphon) 관이 용기 아래 부분까지 연결되어 있고, 액면에 작용하는 대기압에 의해서 액체가 사이펀 관으로 타고 올라가게 된다.

    용기에 들어 있는 LPG가 액체 상태로 공급되면, 그대로 연료로 사용할 수 없기에 "기화" 장치가 별도로 필요하다.

    31

    가스기능장 작업형 65회~78회 중복제외

    영상에서 지징하는 설비 명칭을 쓰시오.

    [동영상]

    수소 충전소

    A. 영상에서 보이는 단위가 MPa

    B: 5각형 배관

    문제이미지

    A 압력계

    B 유량계

    32

    가스기능장 작업형 65회~78회 중복제외

    정압기실에 설치하는 가스누출경보기

    [동영상]

    도시가스 지하정압기실 환기구 설치

    (1) 검지부의 수는 바닥면 둘레 몇 m에 대하여 1개 이상의 비율로 계산된 수를 설치하는가?

    (2) 검지부 설치위치는 가스의 성질, 주위 상황, 그 밖에 설비의 구조에 적합한 곳이어야 한다. 검지부를 설치부에서 제외되는 장소 3가지를 쓰시오.

    1. 20m

    2.

    - 증기, 물방울, 기름 섞인 연기 등이 직접 접촉될 우려가 있는 곳

    - 주위온도 또는 복사열에 의한 온도가 40℃ 이상 되는 곳

    - 설비 등에 가려져 누출가스의 유통이 원활하지 못한 곳

    - 차량 그 밖에의 작업 등으로 인하여 경보기가 파손될 우려가 있는 곳

    33

    가스기능장 작업형 65회~78회 중복제외

    압축천연가스 (CNG) 충전소 저장시설

    (가) 영상에서 보이는 설비의 명칭을 형식과 함께 쓰시오.

    (나) 설치된 안전장치의 방출관의 높이는 지상에서 몇 m 이상 인가?

    문제이미지

    가. 스프링식 안전밸브

    나. 5m

    34

    가스기능장 작업형 65회~78회 중복제외

    주거용 가스보일러 중 밀폐식 가스보일러를 방, 거실 그 밖에 사람이 거처하는 곳에 설치할 수 있는 조건 관련하여,

    (가) 환기구의 크기가 바닥면적 1 ㎡마다 얼마의 비율로 계산한 면적 이상어야 하는지 쓰시오.


    (나) 가스보일러와 연통의 접합 방식을 2가지 쓰시오.

    가. 300 ㎠

    나. 나사식,

    플랜지식

    리브식

    35

    가스기능장 작업형 65회~78회 중복제외

    다음 영상의 배관 위에 설치된 것의 설치 목적을 서술하시오.

    [동영상]

    PE관 위 전선이 테이프로 부착됨

    배관의 매설위치를 지상에서 탐지

    36

    가스기능장 작업형 65회~78회 중복제외

    1. 공기액화분리기에 대하여, ( ) 에 알맞은 것을 쓰시오.

    이 장치에 설치된 액화산소통 안의 액화산소 10 L 중에 아세틸렌 질량이 ( ㄱ ) mg 넘을 때 또는 탄화수소의 탄소 질량이 ( ㄴ ) mg를 넘을 때 공기액화분리기의 운전을 중지하고 액화산소를 방출하야 한다.

    ㄱ. 10

    ㄴ. 1000

    37

    가스기능장 작업형 65회~78회 중복제외

    용기가 내부의 폭발 압력에 견디고 외부의 가연성 가스에 인화되지 않도록 한 방폭 구조

    (가) 방폭종류:


    (나) 위 방폭기준의 폭발 등급 기준을 쓰시오.

    가. 내압방폭구조

    나. 최대안전 틈새범위

    38

    가스기능장 작업형 65회~78회 중복제외

    LNG 저장탱크 관련하여

    (가) 인터록 바이패스의 정의를 쓰시오.

    (나) 인터록 바이패스 적용하는 예를 들어 설명하시오.

    가. 인터록 장치가 정상적으로 작동되지 않도록 조작하는 행위


    나.

    (1) 인터록 관련 계기의 작동이 불량하나 별도 계기에 의해 운전 상태 감시가 가능하고 사업 소의 운전절차에 따른 안전성이 확보된 경우

    (2) 예측이 가능한 인터록 관련 계기의 오작동(주변에서 방사선 검사 시 화염감지기의 오작동 등)을 방지하기 위한 경우

    (3) 공정의 정상운전 중에 인터록 관련 계기의 일시적인 수리를 위해 공정의 정상운전과 기기 및 설비의 보호를 위하여 필요하다고 인정된 경우

    (4) 운전 중에 실시되는 예비 장치 및 설비를 교체 • 수리할 경우

    39

    가스기능장 작업형 65회~78회 중복제외

    충전용기 및 밸브 에 표기된 의미를 쓰시오.

    (가) LG

    (나) W


    (다) TP

    가. 액화석유가스 외의 액화가스를 충전하는 용기의 부속품

    나. 밸브의 질량 (kg)

    다. 내압시험압력 (㎫)

    40

    가스기능장 작업형 65회~78회 중복제외

    [동영상]

    노란색 충전용기

    (가) 최고충전압력의 정의를 쓰시오.

    (나) 기밀시험압력의 정의를 쓰시오.

    (다) 내압시헙압력의 정의를 쓰시오.


    (라) 용기 동판의 최대 두께와 최소 두께와의 차이는 평균 두께의 몇% 이하로 해야 하는가?

    가. 15 ℃에서 용기에 충전할 수 있는 가스의 압력 중 최고압력

    나. 최고충전압력의 1.8배의 압력

    다. ​최고충전압력수치의 3배의 압력

    라. 10%

    41

    가스기능장 작업형 65회~78회 중복제외

    가스누출자동차단장치에서 A, B, C 부분의 명칭과 기능을 쓰시오.

    A. 제어부 :

    차단신호 보내기 + 경보

    B. 검지부 :

    누출 가스 검지 후 제어부로 신호 보내기

    C. 차단부 :

    제어부로서 신호를 받아 차단

    42

    가스기능장 작업형 65회~78회 중복제외

    LPG 자동차용 충전소

    (가) 충전기의 충전호스의 최대 길이(m)를 쓰시오.

    (나) 충전기 상부에는 설치해야 하는 것을 쓰시오.

    (다) (나)의 면적은 얼마 이하여야 하는지 기준을 쓰시오.


    (라) 배관이 캐노피 (canopy)내부를 통과하는 경우에는 1개 이상의 설치해야 하는 것의 이름을 쓰시오.


    (마) 충전기의 충전호스 끝에 설치해야 하는 장치의 명칭을 쓰시오.

    (바) 충전호스에 부착하는 가스주입기의 형식을 쓰시오.

    가. 5m

    나. 캐노피

    다. 공지면적 1/2 이하

    라. 점검구

    마. 정전기제거장치

    바. 원터치형

    43

    가스기능장 작업형 65회~78회 중복제외

    도시가스 매설배관

    (가) 보호판에 구멍이 뚫려있는 이유


    (나) 영상에서 치수는 얼마 (cm) 이상으로 하는지?

    문제이미지

    가. 누출된 가스가 지면으로 확산이 되도록

    ​나. 30cm

    44

    가스기능장 작업형 65회~78회 중복제외

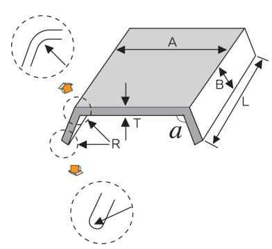
    12. 맞대기 융착이음을 하는 가스용 폴리에틸렌관(PE관)의 두께가 20 mm 일 때 비드폭의 최소폭과 최대폭를 각각 계산하시오.

    문제이미지

    Bmin = 3+0.5t = 3 + 0.5*20 = 13 mm

    Bmax = 5+0.75t = 5 + 0.75*20 = 20 mm

    45

    가스기능장 작업형 65회~78회 중복제외

    동그란 판 가운데 구멍 뚫림

    (가) 영상에서 보이는 유량을 측정하는 설비의 명칭을 쓰시오.

    (나) 영상의 설비에서 유량을 측정하는 원리 관련하여 ( ) 에 알맞은 것을 쓰시오.

    영상 설비 전후에 연결된 액주계의 ( ㄱ ) 차이를 이용하여 유량을 측정하는 차압식 유량계는 ( ㄴ ) 원리(정리)를 응용

    가. 오리피스

    나. ㄱ. 압력, ㄴ. 베르누이

    46

    가스기능장 작업형 65회~78회 중복제외

    압축 도시가스 자동차 충전소 관련,

    (가) 압축가스설비 외면으로부터 사업소경계까지 안전거리는 몇 m 이상인가?

    (단, 압축가스설비의 주위에 철근콘크리트제 방호벽이 설치되어 있지 않다.)

    (나) 충전설비는 도로경계까지 몇 m 이상의 거리를 유지해야 하는가?

    (다) 저장설비, 처리설비, 압축가스 설비 및 충전설비는 철도까지 몇 m 이상 거리를 유지해야 하는가?


    (라) 압축가스설비 외면으로부터 사업소경계까지 안전거리는 몇 m 이상인가?

    (단, 압축가스설비의 주위에 철근콘크리트제 방호벽이 설치되어 있다.)

    (마) 압축가스설비와 고압전선 및 저압전선까지의 수평거리 몇 m 이상인가?

    (바) 압축가스설비와와 화기와의 우회 거리는 몇 m 이상인가?

    가. 10m

    나. 5m

    다. 30m

    라. 5m

    마. 고압 5m, 저압 1m

    바. 8m

    47

    가스기능장 작업형 65회~78회 중복제외

    가스도매사업 제조소 및 공급소의 시설 관련하여,

    [동영상]

    액화가스저장탱크 물분무장치

    (가) 영상에서 보이는 설비는 저장탱크 표면적 1 ㎡ 당 얼마 (L/min) 이상의 비율로 계산된 수량을 저장탱크 전 표면에 분무할 수 있도록 설치되어야 하는가?

    (나) 영상에서 보이는 설비는 해당 저장탱크의 외면으로부터 얼마 (m) 이상 떨어진 안전한 위치에서 조작할 수 있어야 하는가?

    (다) 영상에서 보이는 설비는 동시에 몇분 이상 연속하여 방수할 수 있는 물이 저장된 수원에 접속되어야 하는가?

    (라) 영상에서 보이는 설비는 저장탱크 주위 얼마 (m) 이내에는 차단밸브를 설치하지 아니해야 하는가?

    가. 5 L/min

    나. 15m

    다. 60분

    라. 5m

    48

    가스기능장 작업형 65회~78회 중복제외

    주거용 가스보일러 중 밀폐식 가스보일러를 방, 거실 그 밖에 사람이 거처하는 곳에 설치할 수 있는 조건 관련하여,

    (가) 가스보일러와 연통의 접합 방식 1가지를 쓰시오.

    (나) 연통과 연통 접합 방식 1가지를 쓰시오.


    (다) 보일러를 설치한 곳의 바닥면적 1 ㎡ 마다 ( ㄱ ) ㎠ 이상의 비율로 환기구를 설치하여야 한다.

    가.

    - 나사식

    - 플랜지식 (flange)

    - 리브식 (rib)


    나 .

    - 나사식

    - 플랜지식 (flange)

    - 리브식 (rib)

    - 클램프식 (clamp)

    - 연통일체형 밴드 조임식


    다. 300

    49

    가스기능장 작업형 65회~78회 중복제외

    가스 매설 배관의 위치를 파악하여 굴착공사 등으로 인한 사고를 방지하기 위한 라인마크의 규격을 쓰시오.

    직경(A) ×두께(E) = ( ㄱ ) mm x (ㄴ) mm

    ㄱ. 60

    ㄴ. 7

    50

    가스기능장 작업형 65회~78회 중복제외

    액화석유가스 충전사업자의 영업소에 설치하는 용기 저장소에서 대하여, 용기보관실에는 누출된 액화석유가스가 머물지 않도록 자연환기설비를 설치할 때 기준 4가지를 쓰시오.


    [동영상]

    LPG 저장소에 가스용기가 20여개

    벽면 밑에 환풍구가 군데군데 여럿 보이고, 각각의 면적은 가스용기의 절반 정도는 된다.

    환풍구에 팬(fan)은 없으며, 철창살이 가로로 쳐 있다.

    (가) 환기구는 바닥면에 접하고, 외기에 면하게 설치한다.

    (나) 외기에 면하여 설치된 환기구의 통풍가능면적의 합계는 바닥면적 1 ㎡마다 300 ㎠의 비율로 계산한 면적 이상으로 하고, 환기구 1개의 면적은 2,400 ㎠ 이하로 한다

    (다) 사방을 방호벽 등으로 설치할 경우 환기구의 방향은 2방향 이상으로 분산하여 외기와의 통풍이 잘되는 위치에 설치하여야 한다.

    (라) 용기 보관실과 타 건축물과의 사이에 상부가 막혀 있어 통풍이 잘 되지 않는 위치에는 환기구를 설치하지 않아야 한다.

    51

    가스기능장 작업형 65회~78회 중복제외

    영상의 설비에 설치해야 하는 액면계의 상하의 어떤 형식의 밸브를 각각 설치해야 하는지 쓰시오.

    [동영상]

    지상에 설치된 LPG 저장탱크

    자동식 및 수동식 스톱밸브

    52

    가스기능장 작업형 65회~78회 중복제외

    공기액화분리기에 대하여,

    (가) 이 장치에 설치된 액화산소통 안의 액화산소 5 L 중에 탄화수소의 탄소 질량이 얼마(mg)를 넘을 때에는 그 공기액화분리기의 운전을 중지하고 액화산소를 방출하여야 하는가?

    (나) 동·암모니아시약을 사용하여 산소의 품질검사를 하는 검사법 명칭을 쓰시오.


    (다) 산소 용기 안의 가스충전압력(㎫)은 35℃에서 얼마 이상인가?


    (라) 산소의 품질검사결과 판정기준은 순도는 얼마(%) 이상인가?

    가. 500 mg

    나. 오르자트법

    다. 11.8 ㎫

    라. 99.5%

    53

    가스기능장 작업형 65회~78회 중복제외

    가스용 폴리에틸렌관(PE관)을 열융착이음하는 방법 2가지를 쓰시오.

    - 새들 융착 (Saddle Fusion)

    - 맞대기 융착 (Butt Fusion)

    - 소켓 융착 (Socket Fusion)

    54

    가스기능장 작업형 65회~78회 중복제외

    11. 4번 용기에 각인된 기호 중 "TW"의 의미를 설명하시오.

    (단, 단위까지 쓰시오)

    용기 질량에 다공물질, 용제 및 밸브질량 등을 합한 질량 (kg)

    55

    가스기능장 작업형 65회~78회 중복제외

    다음의 액화천연가스의 저장설비와 처리사업소 경계까지 유지 거리 계산식 관련하여,

    L = C * 3√(143000 * W)

    (가) 위 유지 거리 규정이 적용되지 않을 액화천연가스의 펌프ㆍ압축기ㆍ응축기ㆍ기화장치 용량이 1일 처리능력이 얼마 (㎥) 이하인 경우인가?

    (나) W의 의미를 단위 포함해서 쓰시오.

    가. 52500 ㎥


    나. 저장탱크는 저장능력(단위: 톤)의 제곱근,

    그 밖의 것은 그 시설 안의 액화천연가스의 질량(단위: 톤)


    참고

    L = C * 3√(143000 * W), 최소 50 m

    여기서,

    L: 유지하여야 하는 거리(단위: m)

    C:

    저압 지하식 저장탱크는 0.240,

    그 밖의 가스저장설비와 처리설비는 0.576

    W:

    저장탱크는 저장능력(단위: 톤)의 제곱근,

    그 밖의 것은 그 시설 안의 액화천연가스의 질량(단위: 톤)

    56

    가스기능장 작업형 65회~78회 중복제외

    다음은 가스배관과 호스 사이에 설치하는 가스콕이다.

    (가) 여기에 부착되어야 하는 안전기구의 명칭을 쓰시오.

    (나) (가) 에서 의미하고 있는 장치의 정의를 쓰시오.


    (다) 기밀성능기준은 얼마(kPa) 이상인가?

    (라) 토크성능(콕의 핸들 회전력) 기준은 얼마 (N m) 이하인가?

    (마) 몸통 및 덮개의 재료의 종류 2가지를 쓰시오

    (바) 해당 설비의 성능기준을 쓰시오.

    문제이미지

    가. 과류차단 안전기구

    나. 퓨즈콕에 각인된 표시유량 (여기서는 1.2 ㎥/h) 이상 가스량이 통과되었을 경우 가스유로를 차단하는 장치

    다. 35kPa 이상

    라. 0.588 N m

    마. ① 단조용 황동봉 ② 쾌삭 황동봉

    바. 스토퍼강도성능, 유량성능, 토크성능

    57

    가스기능장 작업형 65회~78회 중복제외

    동영상 자동차 밑에 검지기를 표시함

    (가) 동영상의 검사기로 하는 검사의 방법을 영문약자로 쓰시오.


    (나) 영상의 도시가스 누출을 검지하는 장치의 원리를 쓰시오.


    (다)검출기로 가스를 분석할 때 사용되는 가스의 명칭을 쓰시오.

    (라) 이 검출기로 검출이 불가능한 가스 1가지를 쓰 시오.


    (마) 이 검출기의 단점 1가지

    가. FID

    나. 불꽃 속에 탄화수소가 들어가면 시료의 성분이 이온화됨으로써 불꽃 중에 놓여진 전극간의 전기 전도도가 증대

    다. 수소

    라. 이산화탄소, 질소

    마. 캐리어가스의 순도가 99.9%이상인 질소, 헬륨을 사용해야 한다


    참고

    수소염 이온화 검출기 = 수소불꽃 이온화 검출기 = Flame Ionization Detector

    58

    가스기능장 작업형 65회~78회 중복제외

    (가) 아세틸렌 용기 충전관련하여 다음 ( ) 에 알맞은 것을 쓰시오.

    아세틸렌을 용기에 충전하는 때의 충전 중의 압력은 2.5 ㎫ 이하로 하고, 충전 후에는 압력이 ( ㄱ ) ℃에서 1.5 ㎫ 이하로 될 때까지 정치하여 둔다.

    나) 가스충전용기에서 내력비란 무엇을 의미하는지 ( ) 에 알맞은 것을 쓰시오.

    ( ) 과 ( ) 강도의 비

    (다) 아세텔렌 충전용기의 안전장치 (가용전) 용융온도는 얼마인가?

    가. 15

    나. 내력, 인장

    다. 105 ± 5 ℃

    참고 가용전식 안전밸브의 용융온도

    아세틸렌 105 ± 5 ℃

    염소: 65 ~ 68 ℃

    59

    가스기능장 작업형 65회~78회 중복제외

    화면에서 표시하는 A 장치의 (가) 역할 및 (나) 합산유효면적이 얼마(㎠) 이상이 되어야 하는지 쓰시오.

    동영상 LPG 충전소의 고정주유장치 보여줌

    (가) 역할 :

    (나) 합산유효면적

    가. (자동차용기 충전호스에 설치되는 것으로) 일정강도 이상의 인장력이 작용할 때 자동으로 분리되어 폐쇄


    나. 0.5 ㎠

    60

    가스기능장 작업형 65회~78회 중복제외

    [동영상] 가스용기

    A 주황색 Seamless 용기

    C 녹색 Seamless 용기

    (가) A, C 용기의 공통적인 종류 명칭을 쓰시오.


    (나) A, C 용기의 탄소, 인, 황 함유량이 얼마(%) 이하이어야 하는지 쓰시오.

    (다) A, C 용기동체의 최대두께와 최소두께와의 차이는 평균두께의 얼마(%) 이하로 해야 하는가?


    (라) A, C 용기는 최고충전압력의 몇배를 곱한 수치 이상의 압력에서 항복을 일으키지 아니하는 두께 이상으로 제조해야 하는가?

    가. ​무계목 용기 = 심리스(seamless) 용기


    나.

    탄소(C) : 0.55 %

    인(P) : 0.04 % (인사)

    황(S) : 0.05 % (황오)


    다. 20%


    라. 1.7배

    61

    가스기능장 작업형 65회~78회 중복제외

    방류둑 성토는 수평에 대하여 (ㄱ) ° 이하의 기울기로 하고, 성토 윗 부분의 폭은 ( ㄴ ) cm 이상으로 한다.

    (가) 명칭:


    (나) 상태


    (다) 기능

    ㄱ. 45

    ㄴ. 30

    가. 방류둑 안에 고인 물을 외부로 배수 밸브

    나. 닫혀있어야 한다

    다. 방류둑 안에 고인 물을 외부로 배출하는 역할

    62

    가스기능장 작업형 65회~78회 중복제외

    공기보다 가벼운 도시가스 정압기실을 지하에 설치하는 경우 통풍구조 조건 관련하여

    (가) 흡입구와 배기구의 관경은 얼마 (㎜) 이상이어야 하는가?

    (나) 배기가스방출구는 지면에서 얼마 (m) 이상의 높이에 설치해야야 하는가?

    문제이미지

    가. 100mm

    나. 3m

    63

    가스기능장 작업형 65회~78회 중복제외

    영상에서 보이는 방폭구조의 정의를 쓰시오.

    [동영상]

    Ex p IIC 표기

    ​용기내부에 보호가스(신선한 공기 또는 불연성가스)를 압입하여 내부압력을 유지하므로써 폭발성 가스 또는 증기가 용기 내부로 유입하지 않도록 된 구조

    64

    가스기능장 작업형 65회~78회 중복제외

    동영상에서 보여지는 비파괴검사는 자분탐상검사이다. 이 검사의 (가) 원리와 (나) 장점 단점 1가지를 쓰시오.

    [동영상]

    자석의 S극과 N극을 이용한 자분탐상검사

    (가) 자분탐상검사의 원리

    (나) 자분탐상검사의 장점

    가. 결함에 의하여 생긴 누설 자속을, 자분 또는 검사 코일(Coil)을 사용하여, 결함의 위치를 감지


    나. 장점 검사속도가 매우 빠르고, 검사비용이 비교적 저렴


    단점 비자성체에는 적용할 수 없다

    65

    가스기능장 작업형 65회~78회 중복제외

    고압가스시설 배관 용접부에 대하여

    (가) 배관등의 강도유지 및 수송하는 가스의 누출을 방지하기위하여 배관등을 용접한 후에 실시해야 하는 비파괴검사방법를 모두 쓰시오.

    (나) (가)의 검사를 실시하기 어려운 곳에 대신할 수 있는 비파괴검사방법를 쓰시오.

    가. 육안검사, 방사선투과시험

    나. 초음파탕상시험 및 자분탐상시험

    66

    가스기능장 작업형 65회~78회 중복제외

    갈색 용기

    (가) 영상의 용기 충전하는 가스를 화학식으로 쓰시오.

    (나) 영상의 용기에 적용하는 안전밸브의 형식을 쓰시오.

    가. Cl2

    나. 가용전식 (65~68)

    67

    가스기능장 작업형 65회~78회 중복제외

    녹색 (혹은 검은색) 원통형 물체

    (가) 명칭:

    (나) 역할

    가. 피그

    나. 도시가스 매설배관 공사 완료 후 내압시험, 기밀시험을 하기 전 피그에 공기압을 가해 배관 내의 수분, 이물질, 먼지 등을 제거하는 역할

    68

    가스기능장 작업형 65회~78회 중복제외

    도시가스도매사업의 가스공급시설에서 내진설계 대상에서 제외되는 경우를 2가지만 쓰시오.

    [동영상]

    전시장에 설치된 액화천연가스 탱크 모형

    1. 건축법령에 따라 내진설계를 하여야 하는 것으로서 같은 법령이 정하는 바에 따라 내진설계를 한 시설

    2. 저장능력 3톤 (압축가스의 경우 300 ㎥) 미만 저장탱크 또는 가스홀더

    3. 지하에 설치되는 시설

    69

    가스기능장 작업형 65회~78회 중복제외

    영상에서 (가) 지시하는 기기 명칭 과 (나) 해당 구역에서 확보하여야하는 조도는 얼마인가?

    문제이미지

    가. 압력기록장치

    나. 150룩스 이상

    70

    가스기능장 작업형 65회~78회 중복제외

    영상의 가스 배관에 대하여

    [동영상]

    도로에 매설 중인 빨간색 배관 - 중압 이상을 의미

    (가) 기밀시험 압력 기준을 쓰시오.


    (나) 수압으로 실시하는 내압시험 압력 기준을 쓰시오.

    (다) 질소 등으로 실시하는 내압시험 압력 기준

    가. 최고사용압력의 1.1배 또는 8.4㎪ 중 높은 압력 이상

    나. 최고사용압력의 1.5배 이상

    다. 최고사용압력의 1.25배 이상

    71

    가스기능장 작업형 65회~78회 중복제외

    건축물 내에 30 mm 와 15 mm 가스배관을 각각 50 m 설치할 때, 총 몇 개소를 고정해야 하는지 쓰시오.

    [동영상]

    건물에 설치된 도시가스 배관

    30 mm 가스배관: 50/2 = 25개

    15 mm 가스배관: 50/2 = 25개

    총 25+25 = 50개


    참고

    건축물

    13 mm 미만 1 m

    13 mm 이상 33 mm 미만 2 m

    33 mm 이상 3 m

    교량

    100A 8 m

    150A 10 m

    200A 12 m

    300A 16 m

    400A 19 m

    500A 22 m

    600A 25 m

    600A 이상 처짐량의 500배

    72

    가스기능장 작업형 65회~78회 중복제외

    도시가스 시설 중, 전기방식법으로 가스시설의 부식을 방지할 때 전위 측정용 터미널((TB)을 설치해야하는 장소를 4가지만 쓰시오.

    ① 직류전철 횡단부 주위

    ② 지중에 매설되어 있는 배관절연부의 양측

    ③ 강재보호관 부분의 배관과 강재보호관

    ④ 다른 금속 구조물과 근접 교차부분

    ⑤ 교량 및 횡단배관의 양단부

    ⑥ 밸브 스테이션

    73

    가스기능장 작업형 65회~78회 중복제외

    가스도매사업 제조소 및 공급소의 시설 관련하여,

    [동영상]

    액화가스저장탱크 물분무장치


    (가) 영상에서 보이는 설비는 저장탱크 표면적 1 ㎡ 당 얼마 (L/min) 이상의 비율로 계산된 수량을 저장탱크 전 표면에 분무할 수 있도록 설치되어야 하는가?


    (나) 영상에서 보이는 설비는 동시에 몇분 이상 연속하여 방수할 수 있는 물이 저장된 수원에 접속되어야 하는가?


    (다) 영상에서 보이는 설비는 해당 저장탱크의 외면으로부터 얼마 (m) 이상 떨어진 안전한 위치에서 조작할 수 있어야 하는가?


    (라) 영상에서 보이는 설비는 저장탱크 주위 얼마 (m) 이내에는 차단밸브를 설치하지 아니해야 하는가?

    가. 5 L/min

    나. 60분

    다. 15 m

    라. 5 m

    74

    가스기능장 작업형 65회~78회 중복제외

    영상의 충전용기에 대하여, ( ) 안에 알맞은 내용을 넣으시오.

    [동영상]

    노란색 용기

    (가) 용기 동판의 최대 두께와 최소 두께와의 차이는 평균 두께의 ( ㄱ ) % 이하로 한다.

    (나) 충전용기에 다공질물 및 용해제를 충전하는 것 은 아세틸렌의 (ㄴ )을 방지 목적이다.

    (다) 다공질물의 다공도는 다공질물을 용기에 충전 한 상태로 20°C에서 아세톤, 디메틸포름아미드 또는 ( ㄷ)의 흡수량으로 측정한다.


    (라) 내용적이 10 L 초과 용기에 다공질물의 다공도가 75% 이상, 87% 미만일 때 아세톤의 최대 충전량은 (ㄹ)% 이하로 한다.


    (마) 용기에 채우는 다공질물이 고형일 경우에는 아세톤 또는 디메틸포름아미드를 충전한 다음 용기벽을 따라 용기 직경의 (ㅁ ) 또는 3 ㎜를 초과하지 않는 틈이 있는 것은 무방하다.

    ㄱ. 10

    ㄴ. 분해폭발

    ㄷ. 물

    ㄹ. 40

    ㅁ. 1/200

    75

    가스기능장 작업형 65회~78회 중복제외

    액화석유가스 자동차에 고정된 탱크충전 시설 중 자동차에 고정된 탱크의 이입 충전장소에 설치해야 하는 장치 관련하여,

    [동영상]

    LPG 탱크로리 정차 위치 위에서 물을 뿌리는 장치


    (가) 지시하는 부분의 명칭을 쓰시오.

    냉각살수장치

    76

    가스기능장 작업형 65회~78회 중복제외

    도시가스 매설배관의 전기방식에 대하여,

    (가) 토양 중에 있는 고압가스시설의 방식전위 측정에 사용되는 기준전극은 무엇인가?

    (나) 방식전류가 흐르는 상태에서 자연전위와의 전위 변화는 최소한 얼마 이하이어야 하는가?

    (단, 다른 금속과 접촉하는 고압가스시설은 제외하며, 단위까지 쓸 것)


    (다) 토양 중에 있는 배관의 방식전위 상한 값은 방식전류가 일순간 동안 흐르지 않는 상태 (instant-off)에서 기준전극으로 얼마 이하이어야 하는가?

    (단, 황산염환원 박테리아가 번식하는 토양은 제외하며, 답은 단위까지 단위까지 쓸 것)

    문제이미지

    가. 포화황산동

    나. -300mV이하

    다. -0.85V 이하


    참고

    황산염환원 박테리아가 번식하는 토양의 경우 방식전위상한값 - 0.95 V 이하

    77

    가스기능장 작업형 65회~78회 중복제외

    동영상의 용기제조자가 도색한 용기 외면의 색상을 보고 충전구 나사 형식을 쓰시오.

    [동영상] 가스용기

    A 주황색 Seamless 용기

    B 파란색 Seamless 용기

    C 녹색 Seamless 용기

    (1) 왼나사

    (2) 오른나사

    (3) 오른나사

    78

    가스기능장 작업형 65회~78회 중복제외

    주거용 가스보일러 설치기준에 관련하여, ( ) 안에 알맞은 것을 쓰시오.

    (가) 배기통 및 연돌의 터미널에는 새·쥐 등 직경 (ㄱ ) cm 이상인 물체가 통과할 수 없는 방조망을 설치한다.

    (나) 터미널과 좌우 또는 상하에 설치된 돌출물간의 이격거리는 (ㄴ ) m 이상이 되도록 한다.

    ㄱ. 1.6

    ㄴ. 1.5

    79

    가스기능장 작업형 65회~78회 중복제외

    용기에 의한 액화석유가스(LPG) 저장소에서 대하여, 다음 ( ) 에 알맞은 것을 쓰시오.

    (가) 실외저장소 주위의 경계 울타리와 용기보관장소 사이에는 ( ㄱ ) m 이상의 거리를 유지한다.


    (나) 용기보관실의 용기는 그 용기보관실의 안전을 위하여 ( ㄴ) 으로 하지 않는다.

    (다) 외기에 면하여 설치된 환기구의 통풍가능면적의 합계는 바닥면적 1 ㎡마다 (ㄴ ) ㎠의 비율로 계산한 면적 이상으로 하고, 환기구 1개의 면적은

    (ㄹ ) ㎠ 이하로 한다

    ㄱ. 20

    ㄴ. 용기집합식

    ㄷ. 300

    ㄹ. 2400

    80

    가스기능장 작업형 65회~78회 중복제외

    고압가스용 안전밸브에 대하여,

    (가) 스프링식 안전밸브의 역할을 쓰시오.


    (나) 안전밸브 설계 방출량보다 유량이 적을 때 와 클 때 나타나는 현상 및 문제점 등을 각각 쓰시오

    가. 내부의 압력이 이상 상승 시 압력을 외부로 방출시켜 파열 사고를 방지

    나.

    유량이 적을 때

    현상: 상승된 내부압력을 정해진 설계시간 내에 줄이지 못함.

    문제점: 파열사고 발생 가능성


    유량이 클 때

    현상: 상승된 내부압력을 너무 빨리 줄여서, 압력 변화가 설계치보다 과다하게 발생

    문제점: 과다 진동 및 응력이 발생할 가능성

    81

    가스기능장 작업형 65회~78회 중복제외

    정압기실에 설치하는 가스누출경보기

    (1) 검지부의 수는 바닥면 둘레 몇 m에 대하여 1개 이상의 비율로 계산된 수를 설치하는가?


    (2) 검지부 설치위치는 가스의 성질, 주위 상황, 그 밖에 설비의 구조에 적합한 곳이어야 한다. 검지부를 설치부에서 제외되는 장소 3가지를 쓰시오.

    가. 20m


    나.

    증기, 물방울, 기름 섞인 연기 등이 직접 접촉될 우려가 있는 곳

    주위온도 또는 복사열에 의한 온도가 40℃ 이상 되는 곳

    설비 등에 가려져 누출가스의 유통이 원활하지 못한 곳

    차량 그 밖에의 작업 등으로 인하여 경보기가 파손될 우려가 있는 곳

    82

    가스기능장 작업형 65회~78회 중복제외

    [동영상] <실제 문제 순서와는 다름.>

    A 노란색 용접용기

    B 녹색 Seamless 용기

    C 파란색 Seamless 용기

    D 주황색 Seamless 용기

    (가) A용기에 담긴 가스 (아세틸렌을 의미) 의 분해반응식을 쓰시오

    (나) 질소(N2) 밀도와 가장 비슷한 밀도로 충전하는 용기의 영문자를 쓰시오.

    (다) 충전구 나사가 오른나사인 용기의 영문자를 모두 쓰시오.


    (라) 상온에서 액화가 가능한 가스가 충전되는 용기의 영문자를 쓰시오.

    가. C2H2 → 2 C + H2

    나. A

    다. B,C

    라. B

    83

    가스기능장 작업형 65회~78회 중복제외

    동영상과 같이 연소기구에서 공기가 부족할 경우 발행하는 연소 이상 현상의 이름 및 원인을 쓰시오.

    [동영상]

    업소용 가스렌지에 3개의 불이 켜 있는데, 3개 모두 주황색 ​불이 활활 타고 있다.

    왼쪽의 하나는 냄비가 올려져 있고 불길이 냄비를 집어 삼키고 있다. 가운데와 오른쪽은 아무것도 올려 있지 않다.

    왼쪽에 있는 화구 앞에 있는 콕에 붙여 있는 공기조절기 레버를 돌리니, 주황색 불이 파란색으로 바꾸면서 안정을 찾는다.

    현상 : 옐로우팁


    ​원인

    ① 연소반응이 충분한 속도로 진행되지 않을 때

    ② 1차 공기량이 부족하여 불완전연소가 발생할 때

    ③ 불꽃이 저온의 물체에 접촉하였을 때

    84

    가스기능장 작업형 65회~78회 중복제외

    영상에서 보이는 유량계의 (가) 명칭 과 (나)장점과 단점을 1가지씩 쓰시오.

    문제이미지

    명칭 : 터빈식가스미터

    장점 : 측정범위가 넓고 고압, 저압에서도 정도가 우수하다

    단점 : 가격이 고가이다

    85

    가스기능장 작업형 65회~78회 중복제외

    (가) 이 설비의 높이를 착지농도 기준으로 가연성가스, 독성가스 각각 쓰시오.

    (나) 액화가스가 함께 방출되거나 급냉될 우려가 있는 벤트스택 (Vent Stack)에는 그 벤트스택 (Vent Stack)과 연결된 가스공급시설의 가장 가까운 곳에 설치하여야 하는 것은?

    (다) 영상에서 보이는 설비의 명칭을 쓰시오.

    문제이미지

    가.

    ① 가연성가스 : 폭발하한계값 미만

    ② 독성가스 : TLV-TWA 기준농도값 미만


    나. 기액분리기


    다. 벤트스택

    86

    가스기능장 작업형 65회~78회 중복제외

    (가) 온도 및 압력 쓰시오.


    (나) 명칭을 쓰시오.

    (다) 개폐용 핸들 열림 방향은 어느 방향 (시계바늘 방향 / 시계바늘 반대 방향) 으로 하는가?

    (라) SDR이 21일 경우 최고 압력 (㎫) 쓰시오.

    문제이미지

    가.

    (1) 사용온도: -29 ℃ 이상 38 ℃ 이하

    (2) 사용압력: 0.4 ㎫ 이하


    나. 도시가스용 매몰형 PE밸브


    다. 시계바늘 반대방향


    라. 0.2 ㎫ 이하


    참조

    SDR (standard dimension ration) = D(외경) / t(최소두께)

    11 이하 0.4 ㎫ 이하

    17 이하 0.25 ㎫ 이하

    21 이하 0.2 ㎫ 이하

    87

    가스기능장 작업형 65회~78회 중복제외

    화면상의 기계의 (가) 이름 가 (나) 용도 를 쓰시오.

    문제이미지

    명칭 : 분동식 압력계

    용도 : 탄성식 압력계 점검 및 교정

    88

    가스기능장 작업형 65회~78회 중복제외

    공기보다 가벼운 도시가스 정압기실을 지하에 설치하는 경우 통풍구조 조건 4가지를 쓰시오.

    (1) 통풍구조는 환기구를 2방향 이상 분산하여 설치한다.

    (2) 배기구는 천장면으로부터 30 ㎝ 이내에 설치한다.

    (3) 흡입구 및 배기구의 관경은 100 ㎜ 이상으로 하되, 통풍이 양호하도록 한다.

    (4) 배기가스방출구는 지면에서 3 m 이상의 높이에 설치하되, 화기가 없는 안전한 장소에 설치한다.

    89

    가스기능장 작업형 65회~78회 중복제외

    검지부, 차단부, 제어부에 대해서 간단히 설명하시오.

    검지부: 가스 누출을 확인하여, 제어부로 그 신호를 보낸다.

    제어부: 검지부로부터 신호를 받아 차단 제어 명령을 차단부로 보낸다.

    차단부: 제어부로부터 받은 제어 명령에 따라 가스를 차단한다.

    90

    가스기능장 작업형 65회~78회 중복제외

    자동차에 고정된 용기에 LPG를 충전하는 충전기의 충전호스에는 설치하는 안전장치인 세이프티 커플링(safety coupling)의 구조 및 치수의 기준 4가지를 쓰시오.

    1) 암커플링은 호스가 분리되었을 경우 자동차 충전구쪽에, 숫커플링은 충전기쪽에 설치할 수 있는 구조로 한다.

    2) 커플링이 분리되었을 경우 가스누출이 없도록 자동으로 폐쇄되는 구조로 한다

    3) 암커플링의 외부 캡이 회전되지 아니하는 구조로 한다

    4) 커플링은 형상이 균일하고 매끈하며 유효한 잔금 등 결함이 없도록 한다

    5) 커플링은 가스의 흐름에 지장이 없는 유효면적(합산 유효면적 0.5 ㎠ 이상)을 가지는 것으로 한다

    91

    가스기능장 작업형 65회~78회 중복제외

    가스용 폴리에틸렌(PE관)을 맞대기 융착 이음할 때 적합 여부를 판단하는 기준 4가지를 쓰시오.

    1) 비드(bead)는 좌 우 대칭형으로 둥글고 균일하게 형성되어 있어야 한다

    2) 비드의 표면은 매끄럽고 청결하여야 한다

    3) 접합면의 비드와 비드사이의 경계부위는 배관의 외면보다 높게 형성되어 있어야 한다

    4) 이음부의 연결오차는 배관 두께의 10% 이하로 한다

    5) 공칭외경별 비드폭은 산출식에 따른 최소치 이상, 최대치 이하이어야 한다

    92

    가스기능장 작업형 65회~78회 중복제외

    노란색 용접 용기

    (가) 용기에 충전한 다공질물의 다공도 검사방법을 설명하시오.

    (나) 용기에 부착된 가용전식 안전밸브의 용융온도는 얼마인가?

    가. 다공질물을 용기에 충전한 상태로 온도 20 ℃에서 아세톤, 디메틸포름아미드 또는 물의 흡수량으로 측정


    나. 105 ± 5 ℃

    93

    가스기능장 작업형 65회~78회 중복제외

    명칭

    용도

    단점 1가지 작성

    문제이미지

    1) ERCV (Emergency Response Containment Vessel)

    2) 산업용독성가스의 누출사고가 발생시 이 장비를 이용해 안전하게 밀봉

    3) 가격이 고가, 한 번에 여러 용기를 처리 어려움

    94

    가스기능장 작업형 65회~78회 중복제외

    LPG 용기 충전사업소

    (가) 저장능력이 22톤인 지상 저장탱크를 LPG 충전시설에 설치하고자 할 때, 저장설비 외면에서 사업소 경계까지 유지 거리(m)는 얼마 이상으로 해야 하는가?

    30 m 이상


    저장 능력 / 사업소경계와의 거리

    10톤 이하 24 m

    10톤 초과 20톤 이하 27 m

    20톤 초과 30톤 이하 30 m

    30톤 초과 40톤 이하 33 m

    40톤 초과 200톤 이하 36 m

    200톤 초과 39 m

    여기서 지하인 경우, 70%를 곱한다.

    95

    가스기능장 작업형 65회~78회 중복제외

    지상에 설치되는 액화가스 저장탱크에 액면계를 설치하는 기준 4가지를 쓰시오.

    (가) 액화가스의 종류와 저장탱크의 구조 등에 적합한 것을 선정

    (나) 유리액면계에 유리는 KS B 6208 중 기호 B 또는 P 또는 동등 이상의 것으로 할 것

    (다) 유리액면계에는 금속제 등의 덮개로 보호

    (라) 액면계 상하에는 수동식 및 자동식 스톱밸브을 각각 설치

    96

    가스기능장 작업형 65회~78회 중복제외

    화면상의 고압가스 충전용기의 충전가스명 문자 색상을 쓰시오.

    [동영상]

    파랑색 충전용기 - 이산화탄소(CO2)를 의미

    백색

    문제이미지

    97

    가스기능장 작업형 65회~78회 중복제외

    배관 이음관 중 도시가스 또는 액화석유가스 시설에 설치되는 폴리에틸렌관에 금속관을 접합하거나 금속관에 폴리에틸렌관을 접합하는 가스용품을 영어 풀네임으로 쓰시오.

    Transition Fitting (T/F)

    이형질이음관

    98

    가스기능장 작업형 65회~78회 중복제외

    지하 정압기실에 자연환기설비를 설치할 수 없거나 공기보다 무거운 가스를 취급하는 경우 기계환기설비를 설치하여야 한다. 기계환기설비 설치기준 4가지를 쓰시오

    - 통풍능력 바닥면적 1 ㎡ 마다 0.5 ㎥/min 이상

    - 배기구는 바닥면 가까이 설치

    - 환기구를 2방향 이상 분산 설치

    - 흡기구 / 배기구 관경은 100 mm 이상, 통풍이 양호하도록

    - 배기가스 방출구는 지면에서 5 m 이상 높이에 설치

    99

    가스기능장 작업형 65회~78회 중복제외

    교량에 설치된 도시가스 배관 호칭지름에 따른 고정장치 지지간격 (설치간격)은 몇 m 인가?

    ​100A

    200A

    300A

    400A

    100A : 8 m

    200A : 12 m

    300A : 16 m

    400A : 19 m

    100

    가스기능장 작업형 65회~78회 중복제외

    도시가스 배관을 도로에 매설할 때 기초재료, 침상재료와 되메움재료의 포설기준을 쓰시오.

    - 되메움재료 :

    침상재료상단에서 도로노면까지에는 암편이나 굵은 돌이 포함되지 않은 양질의 흙을 포설

    - 침상재료

    배관하단에서 배관 상단 30 ㎝(가스용폴리에틸렌관의 경우에는 10 ㎝)까지 포설

    - 기초재료:

    배관 하부에는 모래 또는 19 ㎜ 이상의 큰 입자가 포함되지 않은 재료를 10㎝ 이상 포설

    101

    가스기능장 작업형 65회~78회 중복제외

    가스누출경보기 구조 관련하여

    (1) 검지부가 다점식인 경우 구조에 대하여 설명하시오

    (2) 다음 ( ) 에 알맞은 것을 쓰시오.

    가스누출경보기는 충분한 강도를 가지며 취급이 쉽고 정비 중 특히 ( ) 가 용이한 것으로 한다.

    1. 경보가 울릴 때 경보부에서 가스의 검지장소를 알 수 있는 구조

    2. 엘리먼트 교체

    102

    가스기능장 작업형 65회~78회 중복제외

    다음 가스 배관에 고정장치는 총 몇 개가 필요한지 쓰시오.

    호칭지름 30 mm 배관 길이 500 m

    호칭지름 150 mm 배관 길이 3000 m

    550 개

    103

    가스기능장 작업형 65회~78회 중복제외

    영상에서 보이는 비파괴검사의 명칭을 영문 약자로 쓰시오.

    [동영상]

    자석의 S극과 N극을 이용

    MT

    104

    가스기능장 작업형 65회~78회 중복제외

    고정식 압축도시가스 자동차 충전시설 관련하여

    (1) 압축가스설비의 모든 밸브와 배관부속품 주위에는 안전한 작업을 위하여 얼마 (m) 이상의 공간을 확보해야 하는지 쓰시오.

    (2) 압축가스설비가 밀폐형 구조물 안에 설치되었을 때 어떤 것을 설치하면 (1)의 공간을 확보하지 않아도 되는지 쓰시오.

    1. 1 m 이상

    2. 유지보수를 위한 문 또는 창문이 설치된 경우

    105

    가스기능장 작업형 65회~78회 중복제외

    도시가스 사용시설에 사용되는 가스용품으로 몸체에 표시된 F 1.2에 대하여 설명하시오.

    [동영상]

    표즈콕 몸체에 표시된 F 1.2

    F: 퓨즈콕

    1.2 : 과류차단 안전기구가 작동하는 유량이 1.2 ㎥/h

    106

    가스기능장 작업형 65회~78회 중복제외

    (가) 도시가스 사용시설 입상관의 정의를 쓰시오.


    (나) 입상관에 설치된 밸브의 설치높이는 바닥으로부터 얼마인가?

    (다) 입상관 밸브를 지면 또는 바닥면에서 2.0 m 보다 높은 위치에 설치할 경우 조건

    가. 수용가에 가스를 공급하기 위해 건축물에 수직으로 부착되어 있는 배관

    가스의 흐름 방향과 관계없이 수직배관은 입상관


    나. 1.6m 이상 ~ 2 m 이내


    다.

    원격으로 차단이 가능한 전동밸브를 설치

    차단을 위한 전용계단을 견고하게 고정설치한 경우

    107

    가스기능장 작업형 65회~78회 중복제외

    (1) 도시가스배관에 표시하여야 할 사항을 *가지 쓰시오.

    (2) 관지름 40 mm 인 배관에 고정장치 지지 간격 최대 허용 기준은 몇 m 인가 ?

    1. 사용가스명

    최고사용압력

    가스흐름방향


    2. 3m

    108

    가스기능장 작업형 65회~78회 중복제외

    아세틸렌을 2.5 ㎫ 압력으로 압축하는 때, 첨가하는 희석제의 종류를 3가지만 쓰시오.

    ① 에틸렌

    ② 메탄

    ③ 질소

    ④ 일산화탄소

    109

    가스기능장 작업형 65회~78회 중복제외

    (가) 동영상의 가스미터 이름을 쓰시오.

    (나) 합계유량차단값을 초과하는 가스가 흐를 경우 몇 초 이내에 차단되어야 하는가?

    (다) 통상의 사용 상태에서 출구쪽 압력저하를 감지하여 차단하는 압력은?

    (라) 가스가 접하는 부분 및 가스에 닿는 부분이 있는 전기설비의 충전부는 어떤 구조로 하여야 하는가?

    가. 다기능가스 안전계량기

    나. 75초 이내

    다. 0.6 ± 0.1 kPa

    라. 방폭성능을 가지는 구조

    110

    가스기능장 작업형 65회~78회 중복제외

    액화석유가스 자동차에 고정된 탱크충전 시설 중 자동차에 고정된 탱크의 이입 충전장소에 설치해야 하는 장치 관련하여,

    [동영상]

    LPG 탱크로리 정차 위치 위에서 물을 뿌리는 냉각살수장치

    (1) 저장탱크의 표면적 1 ㎡ 당 얼마 (L/min) 이상의 비율로 계산된 수량을 분무할 수 있어야 하는가?

    (2) 해당 장치는 동시에 방사를 필요로 하는 최대수량을 몇 분간 연속하여 방사할 수 있는 양을 갖는 수원에 접속되어 있어야 하는가?

    1. 5 L/min

    2. 30분 이상

    111

    가스기능장 작업형 65회~78회 중복제외

    액화석유가스 충전사업소에서 폭발사고가 발생하였을 때 사업자가 한국가스안전공사에 속보로 통보할 때에 통보 내용에 포함하여야 할 사항은 4가지를 쓰시오.

    통보자의 소속, 직위, 성명 및 연락처

    사고 발생 일시

    사고 발생 장소

    사고 내용

    112

    가스기능장 작업형 65회~78회 중복제외

    [동영상]

    액화석유가스 (LPG) 를 용기에 충전하는 사업소

    (가) 지하에 설치된 저장탱크 저장능력이 30 톤 일 경우 사업소 경계와의 거리는 얼마 이상인가?


    (나) 충전설비의 외면으로부터 사업소 경계까지 유지거리는 얼마 이상인가?

    (3) 자동차에 고정된 탱크 이입 충전장소의 중심으로부터 사업소 경계까지 유지거리는 얼마 이상인가?

    가. 21 m

    나. 24 m

    다. 24 m

    113

    가스기능장 작업형 65회~78회 중복제외

    도로폭이 20 m, 5 m, 3 m 도시가스 배관을 매설할 때 매설깊이는 얼마 (m) 이상인가?

    (가) 20 m : 1.2 m 이상

    (나) 5 m : 1.0 m 이상

    (다) 3 m : 0.6 m 이상