모두CBT | 국가고시 실기시험 부시기!

제선 기출 해설 페이지

제선 기출

    1

    제선 기출
    문제이미지

    1 조크러셔

    2 콘크러셔

    3 볼밀, 로드밀

    4, 분급기

    2

    제선 기출

    고로 내에서 코크스의 역할

    열원, 환기제, 통기제

    3

    제선 기출

    출선구 내부에 머드재 충진 후 여러 가지 원인에 의해 충진재 혹은 출선구 주변에 균열이 발생하여 슬래그 혹은 용선이 유입되어 차기 출선 작업에 지장을 초래하는 현상을 무엇이라 하는가?

    혈절

    4

    제선 기출

    노상부의 열이 현저하게 저하되어 일어나는 사고로 정상 조업의 출선재 작업이 불가능해져 다수의 풍구를 폐쇄시킨 상태로 장기간 걸려 정상 조업까지 복귀시키는 현상은?

    냉입

    5

    제선 기출

    냉입의 원인과 대책

    원인

    장기간 휴풍

    노내 침수

    노황 부조


    대책

    장기간 휴풍 방지

    노내 침수방지

    행잉 연속 방지

    6

    제선 기출

    출선구 폐쇄에 사용되는 머드건의 동작 3가지는?

    경동, 충진, 선회

    7

    제선 기출

    보트(Boat) 모양의 좌우로 경동할 수 있는 통으로서 용선탕도를 가진 용선을 용선 운반차에 수선하는 역할을 하는 주상설비는?

    경주통

    8

    제선 기출

    대탕도에서 용선과 슬래그를 비중의 차에 의하여 분리하는 장치는?

    스키머

    9

    제선 기출

    고로 내의 용융물을 출선구로 배출할 때 출선구 개공에 사용하는 것?

    개공기

    10

    제선 기출

    출선구 개공 후 노 내 압력이 분출되는 용선이나 슬래그의 비산으로부터 주변 작업자의 안전을 확보하고 주변설비를 보호하는 데 목적이 있는 설비는?

    스플래쉬 커버

    11

    제선 기출

    머드건이 머드재를 충진하지 못할 정도의 압력이 되어 더 이상 충진이 되지 않는 상태?

    압상


    혈절과 혼동X

    12

    제선 기출

    출선구 외부로부터 노 내 용융물이 존재하는 지점까지의 노벽 두께를 무엇이라 하는가?

    노저측벽

    노상벽


    출선구 심도

    13

    제선 기출

    철광석 구비조건 3가지를 적으시오.

    철함유량이 많을 것

    불순물이 적을 것

    적정한 강도와 입도

    피환원성이 좋을 것

    14

    제선 기출

    출선구 개공 방법의 종류 3가지를 쓰시오.

    비트개공

    산소개공

    철봉개공

    15

    제선 기출

    고압조업의 효과는?

    출선량 증대

    연료비 절감

    노황 안정

    16

    제선 기출

    고로 내 슬래그의 주요 성분 4가지를 쓰시오.

    Cao , Sio2 , Al2O3, MgO

    17

    제선 기출

    코크스에서 함량이 가장 많은 것은?

    고정탄소 (C)

    18

    제선 기출

    내화물 종류와 각 대표 성분

    염기성 내화물 : MgO(마그네시아)

    산성 내화물 : SiO2 (이산화규소)

    중성 내화물 : Al2O3 (산화 알루미늄)

    19

    제선 기출

    슬래그의 주요성분 4가지중 소결광의 생산성과 강도를 증가시키는 조재성분은?

    SiO2, CaO

    20

    제선 기출

    산업안전보건에 관한 기준을 확립하고 그 책임 소재를 명확하게 하여 산업재해를 예방하고 쾌적한 작업환경을 조성함으로써 근로자의 안전과 보건을 유지, 증진함을 목적으로 하는 법?

    산업안전보건법

    21

    제선 기출

    지구 온난화 문제와 연결되며 북극의 얼음 용해로 해수면이 상승되어 농경지가 상실되는 등 여러재난이 예상되는 대기오염 물질?

    CO2 이산화탄소

    22

    제선 기출

    위험예지훈련 4단계

    이런 '현상'의 '본질'은 '대책'을 '추구'하는게 '목표'다


    현상 파악

    본질 추구

    대책 추구

    목표 설정

    23

    제선 기출

    화학물질 및 화학물질을 함유한 제제의 명칭, 구성 성분 및 함유량, 안전 보건상의 취급 주의사항, 건강 유해성 및 물리적 위험성 등을 설명한 자료?

    물질안전보건자료(MSDS)

    24

    제선 기출

    안전 교육의 3단계를 쓰시오.

    1단계 지식 교육 / 2단계 기능 교육 / 3단계 태도 교육

    25

    제선 기출

    소결조업에 있어 수분의 역할?

    혼합 및 조립

    통기성 향상

    열의 매개체

    26

    제선 기출

    사업장 내에서 직속 상사가 강사가 되어 실시하는 개별 교육의 형태로 일상 업무를 통해 지식과 기능 및 문제 해결능력을 배양시키는 교육은?

    OJT

    27

    제선 기출

    안전점검의 종류 3가지

    정수임특


    정기점검

    수시점검

    특별점검

    임시점검

    28

    제선 기출

    5대 안전 중 3가지를 적으시오.

    정리, 정돈, 청소, 청결 ,습관화

    29

    제선 기출

    DL식 소결기 장점 단점 3가지씩

    장점

    자동 조업에 유리 / 인건비 절약 / 대량 생산에 유리


    단점

    배기 누풍량 많음 / 전력소모가 큼 / 1개소 고장으로 전체 설비 정지

    기계 손상이나 마모 발생

    30

    제선 기출

    위험성평가 5단계

    사전 준비

    위험성 요인 파악

    위험성 추정

    위험성 결정

    위험성 감소 대책 수립

    31

    제선 기출

    자용성 소결광이란 무엇인가?

    석회석이 함유된 소결광


    염기도 조절을 위해 석회석을 첨가한 소결광

    32

    제선 기출

    자용성 소결광의 장점

    맥석과 슬래그 생성

    피환원성이 좋다

    생산성이 좋다

    33

    제선 기출

    소결 배합원료 중 분 코크스의 입도가 굵으면 조업상 일어나는 현상 3가지?

    그레이트바 소결광 부착

    Wind Box 온도 상승

    적열층이 두꺼워짐

    34

    제선 기출

    소결 조업에서 상부광을 넣는 이유? 상부광의 역할?

    그레이트바 수명 연장

    그레이트바 막힘 방지

    통기성 향상

    적열소결광의 용융부착 방지

    35

    제선 기출

    소결광의 기계적 품질을 측정하는 지수 중 SI란?

    소결광의 낙하강도 지수

    36

    제선 기출

    소결 과정에서 고온과 저온에서 행해지는 결합은 무엇인지 2가지 쓰시오

    저온 : 확산 결합

    고온 : 용융결합

    37

    제선 기출

    원료를 연속적으로 일정량씩 절출이 가능하도록 하는 장치?

    정량절출장치 (CFW)

    38

    제선 기출

    소결광이 고로 내에서 환원이 진행됨에 따라 분화가 되는 정도를 나타내는 것은?

    환원분화지수 (RDI)

    39

    제선 기출

    소결 조업에서 블랜딩(Blending)의 목적 3가지?

    성분 안정화

    입도 균일화

    양이 적은 광종도 적절히 활용 가능

    40

    제선 기출

    1. 블렌딩이란 ?

    2. 블렌딩에 사용되는 설비 2가지

    1. 성분과 입도를 균일하게 하기 위해 광석을 혼합하는 작업

    2. 리클레이머, 스태커, 정량절출설비

    41

    제선 기출

    적열 코크스를 소화탑에서 냉각하는 방법 2가지?

    습식법

    건식법

    42

    제선 기출

    코크스로를 구성하는 주요실 3개의 이름과 역할

    탄화실 : 원료탄을 장입하고 건류시키는 설비

    연소실 : 가스를 연소시켜 탄화실을 가열하는 설비

    축열실 : 연소 후 발생한 폐가스 열을 재사용하기 위해 저장하는 설비

    43

    제선 기출

    코크스의 품질을 평가하는 주요한 성질 3가지


    강도

    입도

    회분

    44

    제선 기출

    소결광의 소결정도를 결정하는 원료의 조건

    @장원원@

    장입 밀도

    원료층의 두께

    원료의 이동속도

    45

    제선 기출

    코크스에서 함량이 가장 많은 것은?

    탄소

    46

    제선 기출

    고로 조업에서 미분탄을 불어넣는 조업방법? 혹은 코크스 대신 값싼 무연탄을 취입하는 방법?

    미분탄 취입법 (PCI)

    47

    제선 기출

    고로의 내용적으로 생산 능력은 무엇을 나타내는가?

    고로의 용량(능력)은 어떻게 나타내는가?

    고로의 생산능력 = 1일 출선량(t/d)

    내용적 1m3 당 1일 출선량

    48

    제선 기출

    고로가스 청정설비 중 코로나 방전을 발생시켜 집진하고 미세한 연진을 제거하는 설비?

    전기 집진기

    49

    제선 기출

    고로청정 설비 중 노정가스의 압력을 낮추고 조립의 연진을 침강하여 제거하는 것?

    제진기

    50

    제선 기출

    노정가스의 유속을 떨어뜨림과 동시에 가스의 방향을 급속히 전환시킴으로 가스 중의 조립 더스트를 침강시켜 집진하는 설비 ?

    제진기

    51

    제선 기출

    Race way(레이스 웨이)가 일어나는 장소를 무엇이라 하며 열풍기의 풍구의 재질을 적으시오.

    연소대

    순동(구리)

    52

    제선 기출

    슬립의 원인을 3가지 적으시오

    장입물 분포 불량

    노벽 이상

    분광과다

    노내 온도 저하

    통풍 불균일

    53

    제선 기출

    용선과 슬래그를 분리하는 스키머가 위치하고 있는 곳은?

    대탕도

    54

    제선 기출

    코크스 공장과 소결공장을 생략한 신제철법으로 우리 나라에서 개발한 방법은?

    파이넥스법

    55

    제선 기출

    고로 제선공장이 배출하는 환경유해물질은? 제철소에서 발생하는 대기오염물질을 2가지 적으시오

    SOx, NOx, CO, 먼지

    56

    제선 기출

    DL식은 ( 1 ) 이므로 대량 생산에 적합하다. 고로의 ( 2 ) 가 가능하고, 일부가 고장이 나면 ( 3 ) 가 정지 할 수 있다.

    1. 연속식

    2. 자동화

    3. 전체

    57

    제선 기출

    프류펠러형의 임펠러를 회전시켜 물을 관의 축방항으로 양수하는 펌프이며, 저양정인 펌프는?

    벌류트형 펌프

    58

    제선 기출

    Fe에서 이것을 제거하기 위해 Mn을 투입하여 적열취성을 예방한다. 이것은 무엇인가?

    황 (S)

    59

    제선 기출

    코크스 회분의 주요성분 2가지?

    SiO2, Al2O3,CaO

    60

    제선 기출

    행잉의 원인 3가지

    장입물 분포 불량

    노벽 이상

    분광 과다

    61

    제선 기출

    코크스 원료로 사용하는 석탄의 주성분 2가지

    탄소, 휘발분, 회분

    62

    제선 기출

    코크스로의 주요 가스를 적으시오

    H2, CH4, CO, N2


    '열원'이 되는 가스랑 헷갈리지 말것

    63

    제선 기출

    석탄을 건류하고, 괴상의 코크스를 만드는 성질의 명칭?

    점결성

    64

    제선 기출

    가의 명칭과 기능을 적으시오

    문제이미지

    토페도카(혼선차)


    용선의 이송 저장 보온

    65

    제선 기출

    철광석의 선방 광법을 3가지 적으시오

    @부비자@

    부유 선광

    비중 선광

    자력 선광


    중액 선광

    66

    제선 기출

    철광석 중의 결정수 제거와 탄산염을 분해하여 CO2를 제거할 목적으로 가열처리하는 작업?

    co2 제거 가열은 하소


    하소

    67

    제선 기출

    코크스로 열정산 계산에서 입열 3가지를 적으시오

    @장장연@

    장입탄의 현열

    장입탄의 총수분 현열

    연료가스의 현열

    68

    제선 기출

    코크스로 열정산 계산에서 출열 3가지

    타르의 현열

    코크스의 현열

    노정가스의 현열

    69

    제선 기출

    적열 코크스를 질소가스로 소화시키는 설비?

    CDQ

    70

    제선 기출

    광석 중의 S, As 등의 유해성분을 제거하거나, 치밀한 광석을 다공질의 환원하기 쉬운 상태로 하기 위하여 높은 온도로 가열하는 작업

    s, as 가열은 배소

    배소

    71

    제선 기출

    소결용으로 사용되는 분 코크스의 입도를 3mm이하로 분쇄하는 설비

    볼밀, 로드밀

    72

    제선 기출

    FFS의 명칭?

    화염전진속도

    73

    제선 기출

    FFS 구하는 공식?

    층후(mm) x 팔렛 속도(m/min) / 유효화상길이(m)

    74

    제선 기출

    350mm의 층고에서 15분간 화염이 진행한다면 FFS는 얼마인가?

    층후 나누기 시간하면됨.. 이유는 모름

    350 /15 = 23.3mm/min

    75

    제선 기출

    BTP 명칭?

    소결점

    76

    제선 기출

    노정 가스의 유속을 떨어뜨림과 동시에 가스의 방향을 급속히 전환시킴으로써 가스 중의 조립 더스트를 침강시켜 집진하는 설비?

    제진기

    77

    제선 기출

    가스관이 급격히 좁아져서 throat부를 형성했다가 서서히 본래의 크기로 확대되는 관을 사용하여 포집하는 습식 집진기?

    벤투리 스크러버

    습식 나오면 벤투리

    78

    제선 기출

    고로가스를 방전하여 집진 양극에 코로나 임계전압 이상의 전압을 하전하고 코로나 방전으로 더스트에 이온을 대전시켜 집진극으로 부착하여 처리하는 설비?

    전기 집진기

    코로나는 전기 집진기

    79

    제선 기출

    석회석을 첨가하어 염기도를 적절히 조정시킨 소결광은?

    자용성 소결광

    80

    제선 기출

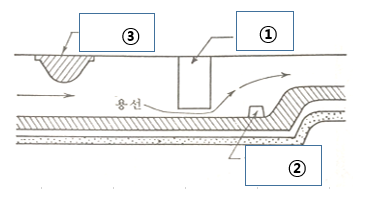
    빈칸의 알맞은 명칭

    문제이미지

    1.스키머

    2.잔선배출구(잔선구)

    3.슬래그통

    81

    제선 기출

    다음은 어떤 열풍로 형식인지 쓰시고 빈칸에 알맞은 명칭은?

    문제이미지

    외연식 열풍로

    1. 축열실

    2. 연소실

    82

    제선 기출

    다음 중 피환원성이 큰 순서는?


    펠렛, 자철광, 소결광, 생광석

    소결광 > 펠렛 > 생광석 > 자철광

    83

    제선 기출

    COG/ BFG 가스 성분은?

    COG : H2 > 메탄CH4 > CO > N2

    BFG : N2 > CO > CO2 > H2

    84

    제선 기출

    소결 부원료 중에서 소결광의 성분 조정용으로 사용되며 배합원료의 조립강화를 위한 점결제 역할을 하는 것?

    생석회 (CaO)

    85

    제선 기출

    고로의 주요 명칭을 위에서부터 아래까지 차례대로 적으시오

    문제이미지

    노구

    노흉(샤프트)

    노복(벨리)

    보시(조안)

    노상

    노저

    86

    제선 기출

    코크스 강도를 측정하기 위한 시험법 2가지?

    낙하강도 시험법

    회전강도 시험법

    87

    제선 기출

    출선구에서 배출되는 용융물을 용선과 슬래그로 분리시키는 곳?

    대탕도

    88

    제선 기출

    대탕도에서 용선과 슬래그를 분리시키는 설비 ?

    스키머

    89

    제선 기출

    대탕도에서 분리된 용선을 레이들까지 유도하는 탕도 ?

    용선탕도 및 경주통

    90

    제선 기출

    대탕도에서 분리된 슬래그를 괴재처리하는 "드라이피트" 또는 "수재처리"하는 수재설비로 유도하는 탕도

    슬래그탕도

    91

    제선 기출

    용선 및 슬래그 배출이 끝나면 폐쇄시키는 장치?

    머드건

    92

    제선 기출

    일정 장소에서 다수의 근로자를 집합시켜 교육하는 방식으로 사업장 외에서 실시하는 교육 ?

    Off.J.T

    93

    제선 기출

    언로더, 컨베이어, 스태커, 트리퍼, 리클레이머의 역할

    언로더

    배로 수송되어 온 제철원료를 벨트컨베이어에 올리는 설비

    컨베이어

    원료를 목적지까지 이송시키는 설비

    스태커

    원료를 야드에 적치하는 설비

    트리퍼

    수송물을 벨트컨베이어를 불출하는 설비

    리클레이머

    야드에 적치된 원료를 벨트컨베이어에 실어주는 설비

    94

    제선 기출

    용선차(토페도카,TLC)의 기능

    용선의 이송, 보온 , 저장

    95

    제선 기출

    고로의 유효 높이, 실효 높이, 전체 높이와 유효용적, 내용적, 전용적을 설명하시오.

    유효 높이 - 노저에서 장입기준선까지 - 내용적

    실효 높이 - 풍구에서 장입기준선까지 - 유효용적

    전체 높이 - 노저에서 노구까지- 전용적

    96

    제선 기출

    풍구로부터 취입된 고온의 열풍이 노 내 코크스를 연소시켜 환원가스를 발생시키며, 고로 내에서 가장 온도가 높고 활성화된 영역의 명칭과 여기서 발생하는 화학 반응식 2가지

    레이스웨이(연소대)

    O2 + C = CO2

    CO2 + C = 2CO

    97

    제선 기출

    염기도 계산식

    CaO/SiO2

    98

    제선 기출

    풍구의 재질과 이유

    순동


    내식성 우수

    열전도성 우수

    99

    제선 기출

    다음 설명하는 펌프를 적으시오

    보기 ㉠ 원심펌프, ㉡ 축류펌프, ㉢ 사류펌프


    1) 깃의 양력에 의해 액체에 압력 및 속도에너지를 주고, 더욱이 안내 깃으로, 속도에너지를 압력에너지로 변환하는 펌프


    2) 임펠러의 원심력에 의해 액체에 압력 및 속도에너지를 주는 펌프


    3) 임펠러의 원심력 및 양력에 의해 액체에 압력 및 속도 에너지를 주는 펌프

    1. 축류펌프

    2. 원심펌프

    3. 사류펌프

    100

    제선 기출

    화학식 Fe₃O₄ + 4CO→ ( ㉠ ) + ( ㉡ )

    3FE + 4CO2